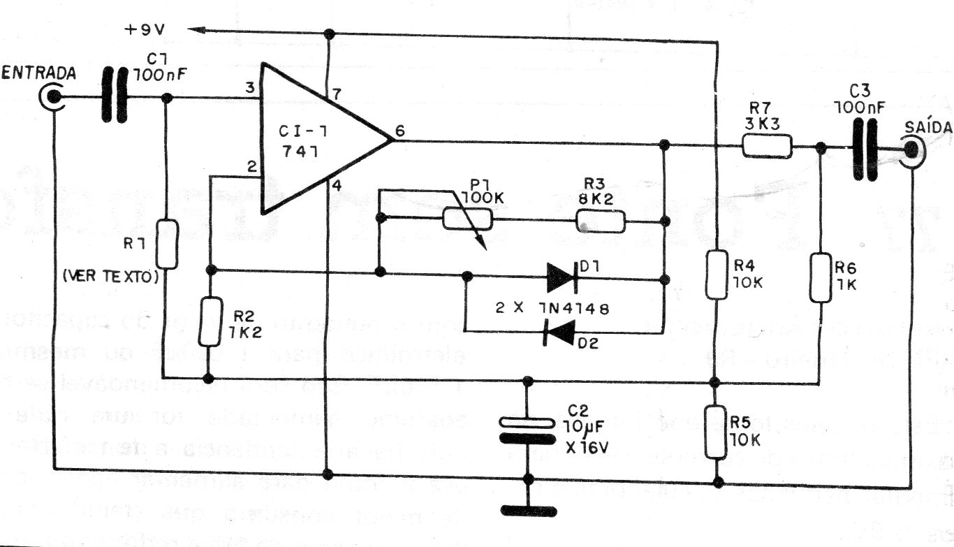
We found this circuit in an old documentation, but it can be easily assembled, as it is based on the very common 741 integrated circuit. The input and output cables must be shielded, and the adjustment of operation is done in P1 that can be installed on a pedal. The supply can be done with a 9 V battery, as the consumption is very low.




