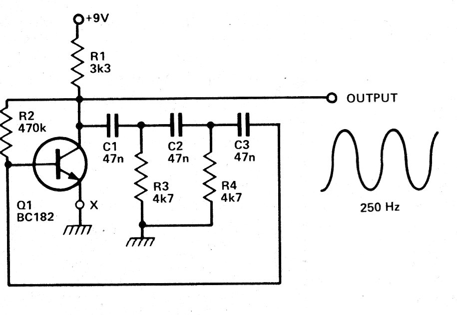
This traditional circuit generates a 200 Hz sinusoidal signal. The frequency depends on the capacitors and the transistor can be a BC548. We found this circuit in a 1979 documentation.
This shield, found in old English documentation, appears with variations elsewhere in this section...
This complementary or bilateral emitter follower was found in American documentation from the 90s....
This configuration that functions as a zener diode was found in an English publication from 1976....