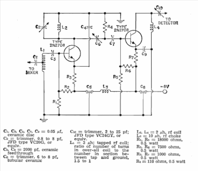
This circuit is used in VHF and UHF superheterodyne receivers. The circuit is from the 1964 RCA transistors manual. Equivalent transistors such as the BF495 can be used.
Found in an Electronic Design from 1965, this circuit makes use of transistors of the time. The...
Found in an EDN from the 90s, this circuit uses an electret microphone. The output can be used to...
This circuit compares the input voltages by providing an output according to the curve next to the...