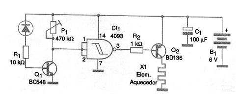
In the figure we have an interesting possibility that consists of the activation of a heating element when the temperature verified by the sensor drops. The trigger point is adjusted in P1. The heating element for the indicated transistor must draw a maximum current of 500 mA. For higher currents, higher power transistors such as the TIP32 or even Darlingtons should be used. The heating element can be a wire resistor of an appropriate value. This value is calculated to obtain heating with the current available in the circuit. For example, we can use a 10 W resistor, generating 8 W of heat.
R = P / I2
Where:
P = 8 W
I = 0.5 A (500 mA)
We look like:
R = 8 / 0.25
R = 32 ohms




