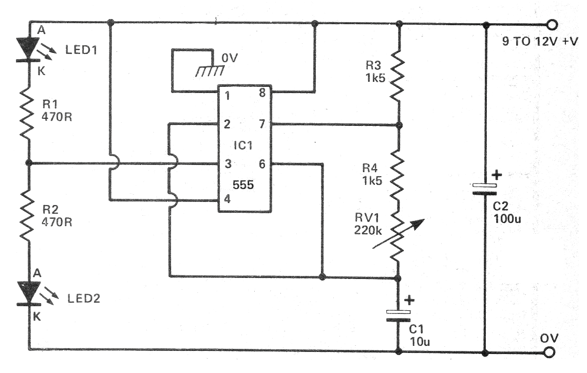
This traditional version of an astable 555 using LEDs was obtained from a 1979 Hobby Electronics. The circuit has the frequency adjusted by RV1 and depends on C1. The supply can be made with voltages from 6 to 12 V, differently from the 9 to 12 V indicated.




