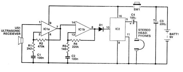
With this device, ultrasounds captured by an appropriate microphone are converted into sounds and heard in a ceramic or crystal headset. Operational amplifiers can be 741 or LM381 at the same time as the CMOS is a 4040. The circuit is powered by a 9 V battery and was found in a 1992 documentation.




