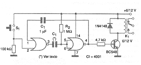
The circuit in figure 10 uses two of the 4001's four ports to trigger a relay in a timed manner. The time interval obtained depends on the capacitor C1 whose value can be between 10 uF and 1 000 uF. With 10 uF the time interval obtained is in the order of 10 seconds. Large capacitor values can make the circuit unstable, especially if they leak. The relay is of the type that has a maximum coil current of 50 mA and voltage equal to that used in the supply.




