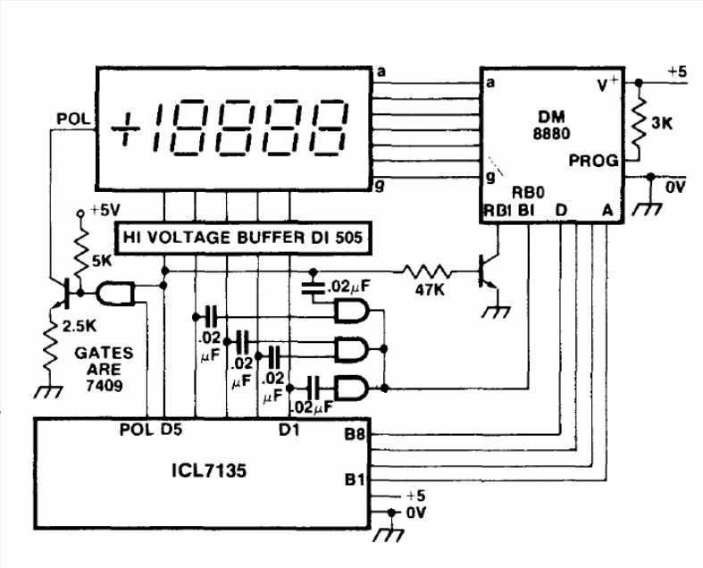
This circuit is from the 1983 Intersil Databook. The display is plasma and must be excited by a high voltage circuit. The components used in this configuration are not common today.
Molex discrete wiring and cabling solutions with applications in consumer electronics, commercial...
This circuit consists in a full-wave bridge rectifier or Graetz Bridge as its is also called. The...
This circuit is used to convert audio signals from na amplifier into infrared modulated signals....