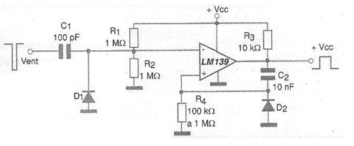
It is possible to design a monostable multivibrator around a voltage comparator of the four available on the LM139. The circuit in question is shown in the figure. A negative input pulse causes the output to go high and remain so for a period that depends on the C2 value.




