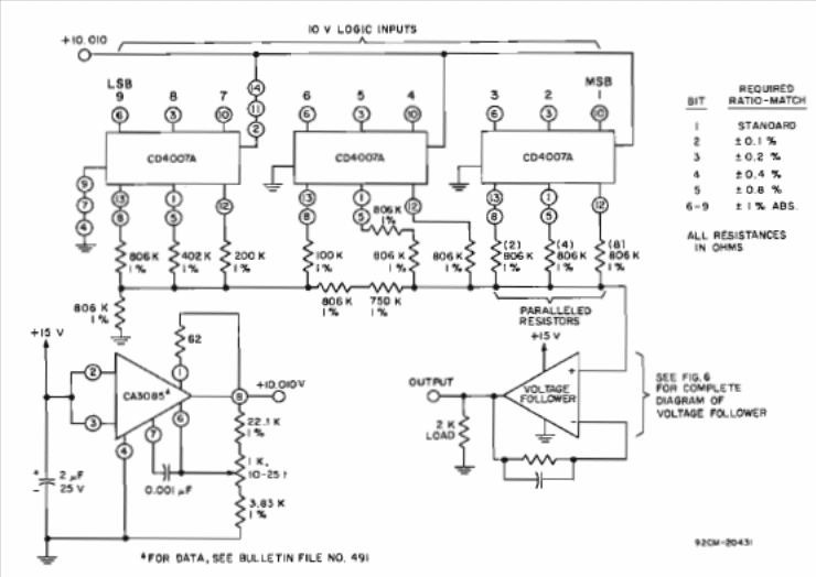
This 9-bit DAC circuit was found in the RCA CMOS integrated circuits manual of the 1970s. The circuit operates at 15 V and consumes between 70 and 200 mW. The currents at each outlet are approximately 400 uA.
This simple operational amplifier tester was published in the November 1987 issue of Radio...
The traditional circuit was taken from a French magazine Radio Plans that no longer exists but can...
This configuration can be made based on other operational amplifiers. For other frequencies, the...