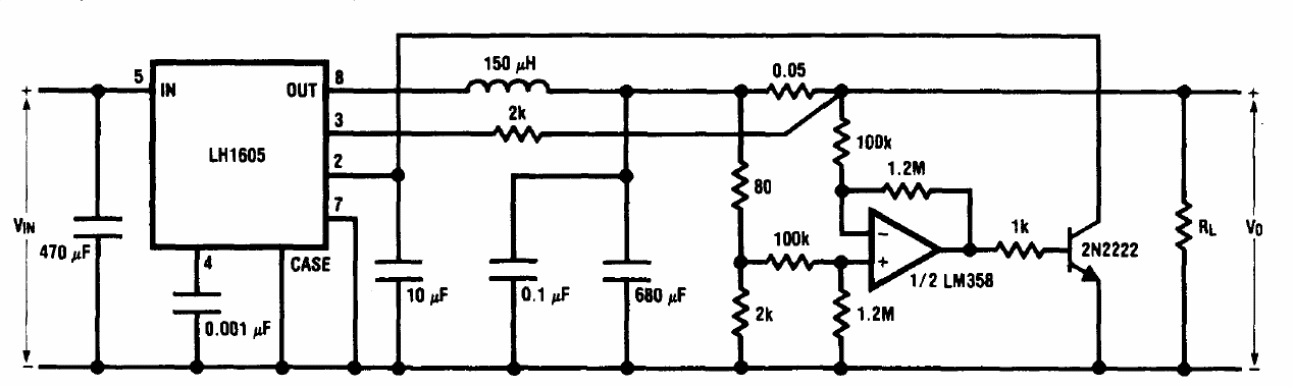
The LH1605 integrated circuit is not a common component today. The circuit was found in the 1994 National Semiconductor Linear Applications Handbook.
The TTL circuit shown in the figure generates a 1 MHz rectangular signal depending on the 20-200 pF...
This assisted ignition circuit (which reduces the spark current) dates to the time when cars had...
This amplifier uses an integrated circuit from the 70s, which is no longer common on the market. The...