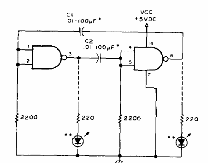
This traditional TTL configuration was obtained in a 1977 documentation. The supply must be made with 5 V and the capacitors can be changed for operation at other frequencies.
This antenna tuner was found in a 1995 publication in the 1993 Electronics Hobbyists Handbook. The coil...
This circuit is from the 1982 SGS Linear Circuits Manual. The circuit provides currents from 35 mA...
ROHM Semiconductor is featured in a new line of IR LEDs, Proximity Optical Sensors and Ambient...