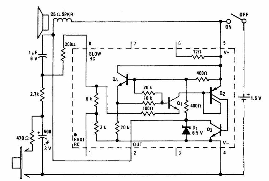
The circuit below is suggested by National Semiconductor in technical documentation on the LM3909. The circuit is powered by a single battery and has a very low consumption.
We found this circuit in a 2002 documentation. It still uses old type plugs, but it can be adapted to...
This circuit was proposed by a 1965 Electronic Design. Its purpose is to widen the line transients...
The circuit shown can measure currents less than 1 uA and is powered by two 1.5 V batteries in a...