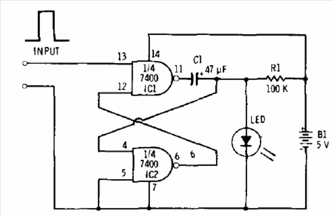
This circuit is from a 1977 Radio Shack documentation. In it we have the activation of an LED for a time determined by capacitor C1 and R1. The supply must be made by a voltage of 5 V and triggering is made by a positive logic pulse. The circuit can be used as a shield for microcontrollers.




