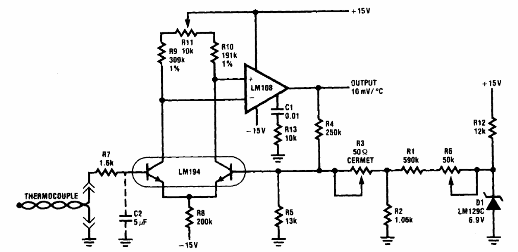
The circuit is from the 1994 National Instruments Linear Applications Handbook. The LM194 consists of a matched pair of transistors. The circuit can be designed with more modern equivalent components.
The circuit is from the 1994 National Instruments Linear Applications Handbook. The LM194 consists of a matched pair of transistors. The circuit can be designed with more modern equivalent components.