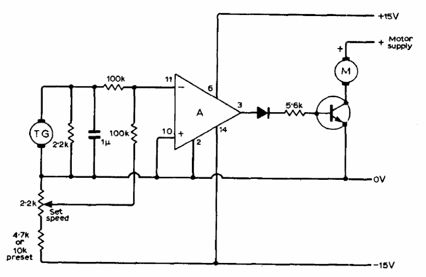
This control circuit was obtained in a 1971 technical documentation. The operational amplifier can be the 741 or equivalent and the transistor the BD135 for motors up to 500 mA. The operational supply voltage may differ from the motor voltage. The source must be symmetrical for the operational amplifier.




