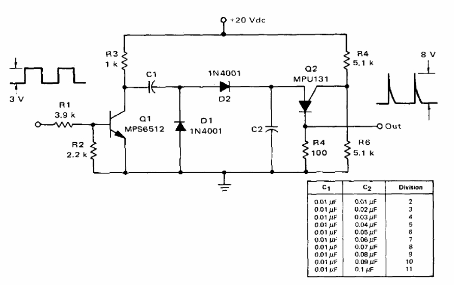
This circuit was obtained in a 1974 publication on Motorola PUT (Programmable Transistor Unijunction). The circuit divides rectangular signals into frequencies that depend on the components given in the table next to the diagram.
This circuit was obtained in a 1974 publication on Motorola PUT (Programmable Transistor Unijunction). The circuit divides rectangular signals into frequencies that depend on the components given in the table next to the diagram.