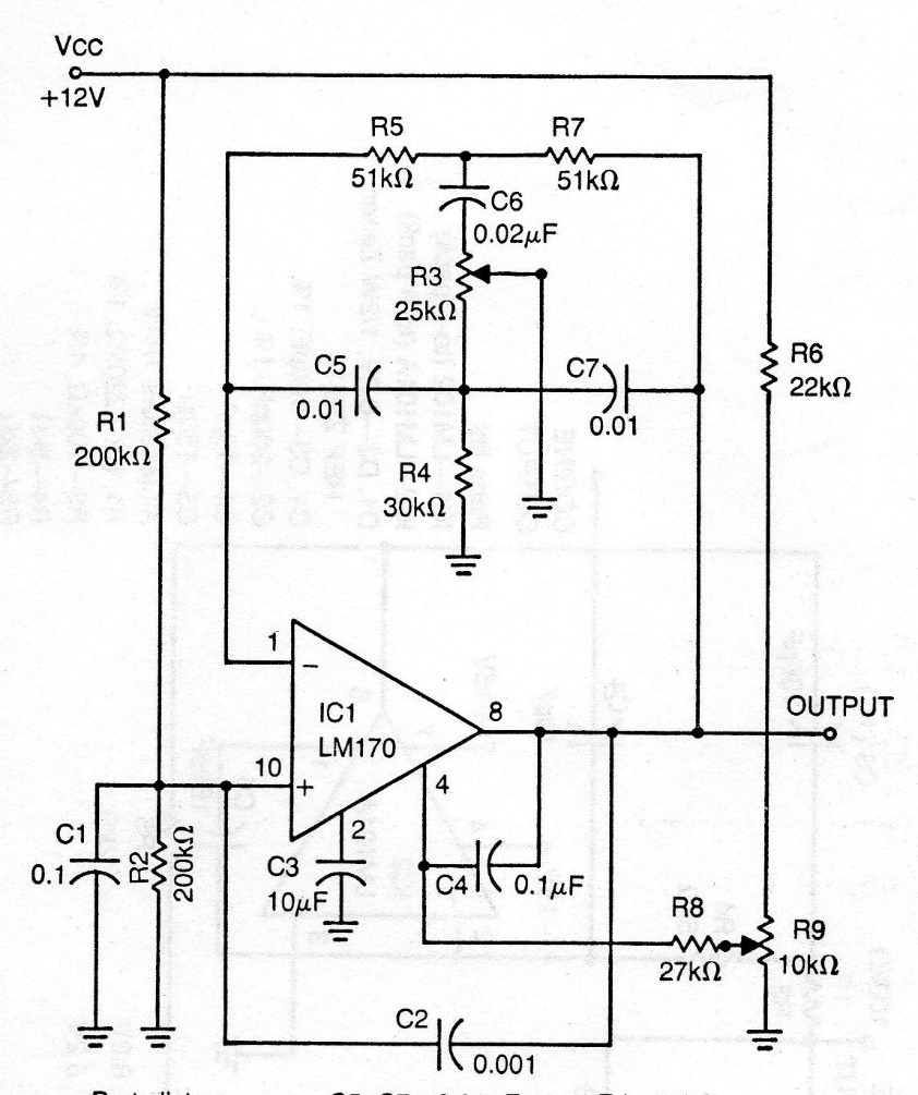
This oscillator from a 1970 documentation uses an operational amplifier that is no longer common on the market but can be implemented with more modern types. The circuit generates a sinusoidal signal given by the frequency of the double T. See in the math section of the author's website how to calculate the double T for other frequency ranges. The power supply need not be symmetrical, and the values of non-standard components can be approximated for most common values in our market. The circuit will work with a 741.




