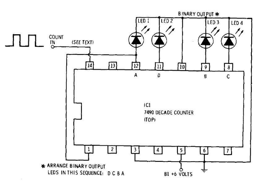
This configuration, well known to those who study digital electronics, was obtained in a 1974 Radio Shack manual. The circuit must be powered by 5 V and excited with TTL rectangular pulses, making the count of 4 bits. (7490)
This configuration, well known to those who study digital electronics, was obtained in a 1974 Radio Shack manual. The circuit must be powered by 5 V and excited with TTL rectangular pulses, making the count of 4 bits. (7490)