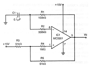
This oscillator employs a Motorola operational amplifier common in the 70s. We can implement the same configuration with a common operational amplifier in our times as the 741. The frequency is given by C1 and for this circuit it will be around 1 kHz. The maximum frequency depends only on the operational amplifier used. The circuit does not need a symmetrical source and the output signal is rectangular. R3 and R5 can be 47k.




