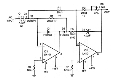
This configuration is from an old Motorola documentation from the 70s. The circuit uses operations that are no longer common but can be assembled with more modern operational amplifiers. The diodes are for general use and the voltage can also be changed according to the characteristics of the operating devices used. Note the use of two opposing electrolytes for an alternating voltage input. The circuit provides the average input voltage value at the output.




