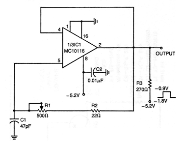
The operational amplifier used in this circuit from a 1970s publication is no longer easily found in our market, but a more common equivalent such as the 741 can be used. The 500 ohms (470 ohms) potentiometer adjusts the frequency that is determined by capacitor. This component can be changed over a wide range of values. The supply voltage, depending on the operating voltage, can also be changed.




