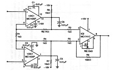
This circuit is from an American technical documentation from the 70s, but it can be easily implemented, because even the operational inputs can be exchanged for more modern types like the 741 itself. The circuit has a voltage gain of 100 times and a very high input impedance. The supply must be made with a symmetrical source and the shields at the inputs are important. The gain is given by the value of R8 in relation to R3 and R5.




