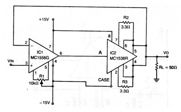
The integrated circuits used in this circuit are from the 70s and are therefore no longer common in our market. It is worth the configuration as a study for implementation with more modern components. The circuit has a unit gain and if the second operational is of power, it can have a very high current gain. The circuit must be powered by a symmetrical source according to the characteristics of the amplifiers used. The input impedance is too high.




