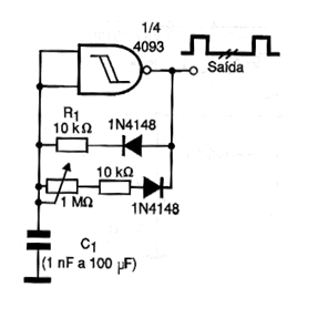
With the circuit in the figure it is possible to generate pulses whose duration is given by R1 and the separation adjusted in the 1 M ohms trimpot. Capacitor C can have values between 100 pF and 1000 µF and the maximum operating frequency for a 12 V supply is in the order of 2 MHz. The supply can be made with voltages from 5 to 12 V, and the waveform of the exit signal is rectangular.




