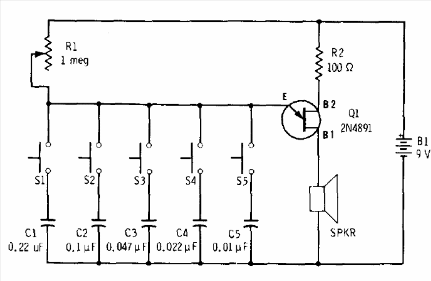
This traditional configuration found in a Radio Shack document can use 2N2646. More keys can be added, and the power can be supplied with voltages from 9 to 15 V.
To obtain a signal with a variable mark / space ratio in a ratio of 1 to 20 to 20 to 1, we have...
Other operational amplifiers series, such as the MC34072, MC34074, MC35071, MC35072, MC35074 d...
We found this sophisticated meter circuit in an article in Radio Electronics magazine from June...