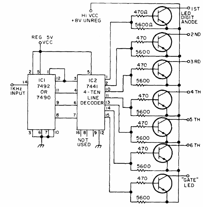
This circuit causes a sequence of LEDs to run so fast that our eyes cannot detect the change. The circuit can be used to demonstrate retinal persistence in physics classes. The input signal can be generated with the 555. The power is TTL. The circuit was found in a 1975 documentation. The transistors may be the BC558.




