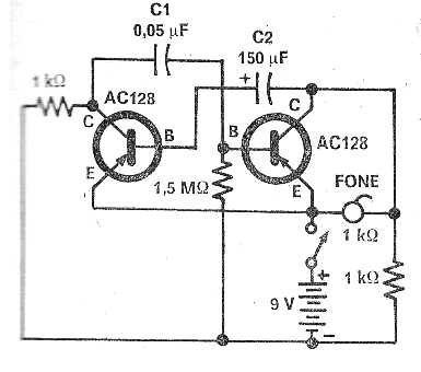
This fish flame circuit was found in a 1971 magazine. The circuit can still be mounted with BC558 transistors. The handset should be crystal or a small piezoelectric capsule. Power can be supplied with voltages between 6 and 9 V. The circuit is installed in a glass with the transducer attached to the cover so that the sound can be transferred to water.




