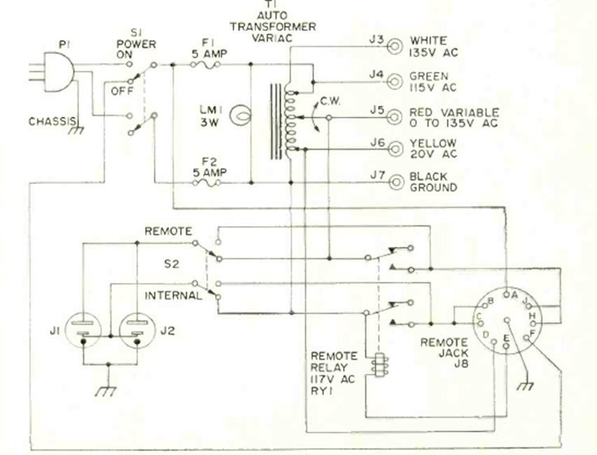
This is a very useful autotransformer circuit on the bench. We found it in the September 1970 Radio Elecronics magazine. The transformer must be according to what you want to feed at the output.
This circuit for signals up to 30 MHz can improve your reception in the medium and short-wave...
This circuit can be used as a shield for transmitting the temperature of a sensor. The circuit is from...
This astable multivibrator follows the traditional configuration for use as a signal injector, found in...