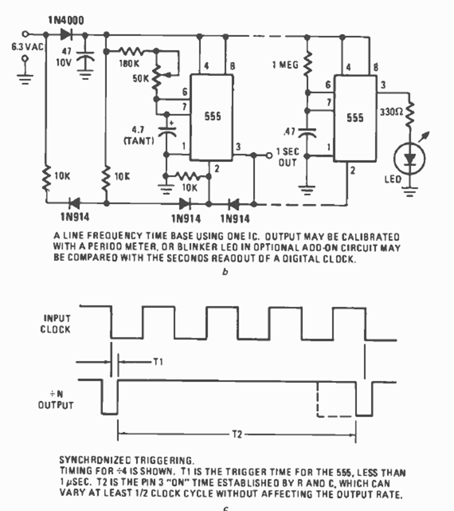
This mains-synchronized circuit produces a simple 1 pulse per second. The circuit is from a Radio Electronics magazine from May 1977.
This circuit for signals up to 30 MHz can improve your reception in the medium and short-wave...
This circuit can be used as a shield for transmitting the temperature of a sensor. The circuit is from...
This astable multivibrator follows the traditional configuration for use as a signal injector, found in...