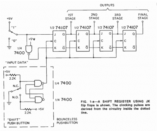
Found in an article in the December 1974 issue of Radio Electronics magazine, this circuit is intended for educational purposes and can be used to teach how a shift register works. LEDs can be connected to the outputs.
Found in an article in the December 1974 issue of Radio Electronics magazine, this circuit is intended for educational purposes and can be used to teach how a shift register works. LEDs can be connected to the outputs.