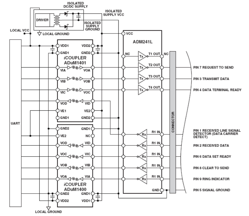
In critical applications of the RS-232 interface, the danger of induced voltages in the cables must be considered. One way to avoid the problem is through the use of optical isolators. Analog Devices (www.analog.com) in its Application Note AN-740 provides practical circuits for this purpose with excellent explanations on how this type of interface works. Considering that common digital optical couplers do not support RS-232 signals, the designer must be careful when choosing the correct device for the project. In the circuit shown in figure 2. In the circuit shown, RS-232 transceivers use digital logic with signals between 0 and 5V or 0 to 3 V, being connected to a UART or processor. The project presented uses an Analog optical coupler specially designed for this purpose. Note that the power supply diagram is also included.




