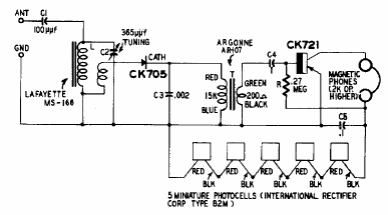
This simple 60's receiver is powered by solar cells of the time. The transistor is made of germanium and the headphones must be high impedance.

This simple 60's receiver is powered by solar cells of the time. The transistor is made of germanium and the headphones must be high impedance.
