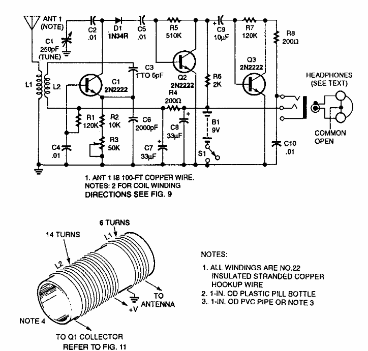
We found this simple shortwave receiver in an Electronics Now from the 1990s. Details of the coil construction are given next to the diagram. Listening is on high impedance headphones. The range is from 6 to 17 MHz.
We found this simple shortwave receiver in an Electronics Now from the 1990s. Details of the coil construction are given next to the diagram. Listening is on high impedance headphones. The range is from 6 to 17 MHz.