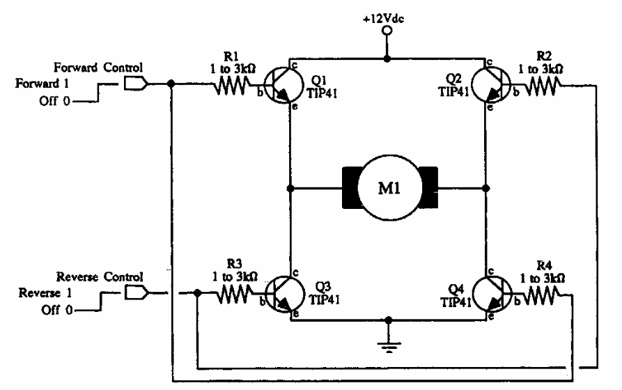
This circuit was taken from old American documentation. The transistors used make it possible to control a motor with up to 2 A of current. They must be equipped with heat sinks.
.
This circuit uses two Raytheon RC4558 operational amplifiers that are similar to the 741. The...
This audio amplifier circuit is from Ibrape's technical documentation from the 70's. The BC177 can be...
This progressive circuit has a lock allowing coded activation. We found this configuration in...