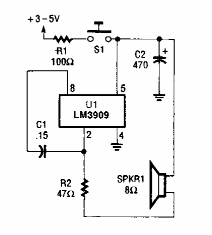
This circuit with the LM3909 can be powered with voltages from 3 to 5 V. We found it in a Popular Electronics from the 90s.
This circuit uses two Raytheon RC4558 operational amplifiers that are similar to the 741. The...
This audio amplifier circuit is from Ibrape's technical documentation from the 70's. The BC177 can be...
This progressive circuit has a lock allowing coded activation. We found this configuration in...