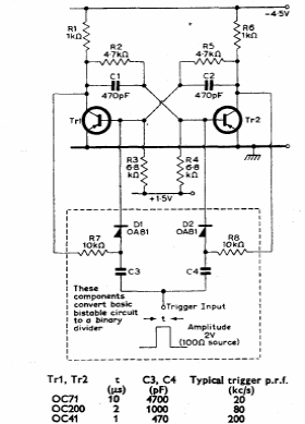
Found in Mullard's 1960s transistor manual, this circuit has components that depend on the transistors used, as shown in the table next to the diagram.

Found in Mullard's 1960s transistor manual, this circuit has components that depend on the transistors used, as shown in the table next to the diagram.
