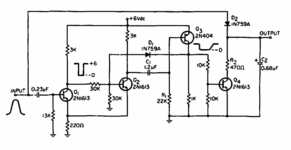
We found this circuit in an American documentation from the 60s. The circuit can be made with equivalent transistors. It basically consists of a monostable.
This circuit was found in an American 1990s documentation. It can directly trigger a triac when...
This circuit for voltages up to about 20 V was found in a 90s Popular Electronics. The LED can be...
The frequency of the sound emitted by this circuit depends on the light intensity on the sensor....