This circuit was found in a Popular Electronics from the 90's. The components are common. The potentiometer adjusts the circuit's trigger point.
With the circuit shown, you can have a fast response with a Darlington configuration. The circuit is...
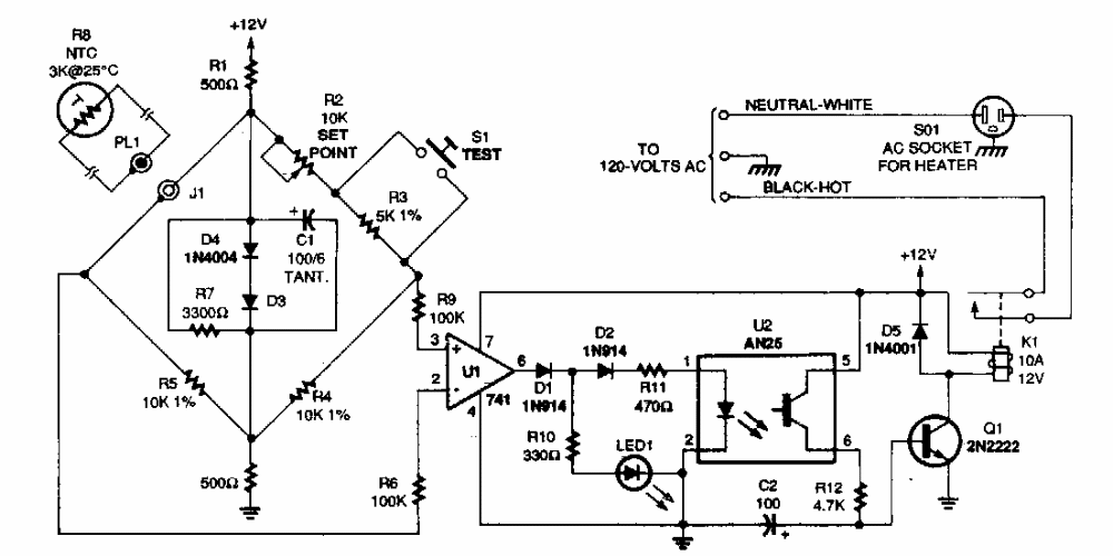
We found this multiple thermostat circuit in July 1980 Radio Electronics magazine. It uses...
Mouser Electronics is already providing new MOSFETs EF SIHx28N60EF of Vishay series for voltages...