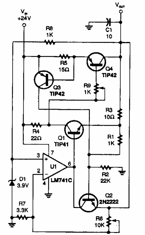
This current-limited circuit was found in a Popular Electronics from the 90's.
We found this circuit in a 2004 documentation. The circuit consists of a standard lamp for testing...
In the figure we have the way to implement an oscillator from 100 kHz to 5 MHz with operational, being...
To obtain triangular signals, we have the circuit in the figure that uses two amplifiers. One of...