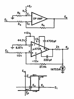
Suggested by an American documentation from the 1960s, this circuit provides an operational hysteresis amplifier, according to the curve given in the diagram.

Suggested by an American documentation from the 1960s, this circuit provides an operational hysteresis amplifier, according to the curve given in the diagram.
