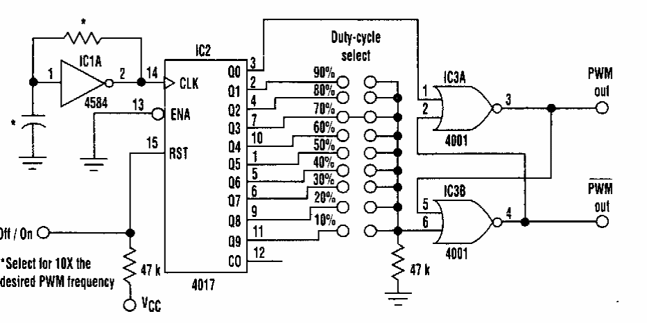
This circuit was obtained from an Electronic Design from the 90's. The circuit generates signals at a frequency determined by R and C. The selection by the jumpers determines the PWM modulation.
With the circuit shown, you can have a fast response with a Darlington configuration. The circuit is...
We found this multiple thermostat circuit in July 1980 Radio Electronics magazine. It uses...
Mouser Electronics is already providing new MOSFETs EF SIHx28N60EF of Vishay series for voltages...