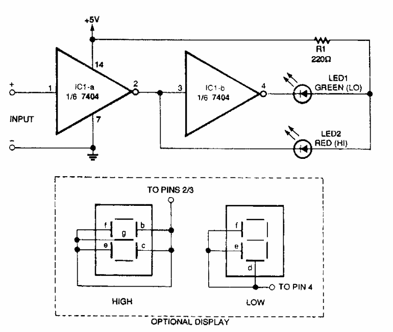
We find this circuit in an Electronics Now. The indication of the logic level is done on a 7-segment display according to the connections given in the diagram.
With the circuit shown, you can have a fast response with a Darlington configuration. The circuit is...
We found this multiple thermostat circuit in July 1980 Radio Electronics magazine. It uses...
Mouser Electronics is already providing new MOSFETs EF SIHx28N60EF of Vishay series for voltages...