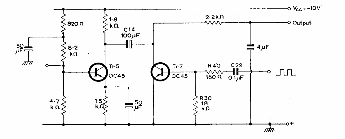
This circuit was found in Mullard's 1960s transistor manual. The circuit employs contemporary germanium transistors and operates at 1.65 kHz.
This circuit mimics the dialing of an old telephone. The reproduction is made in a loudspeaker and the power...
The gain of this circuit depends on the frequency of the input signal. The circuit is from a Radio...
This tone control was obtained in a Signetics documentation of the 90s. The integrated circuit can be...