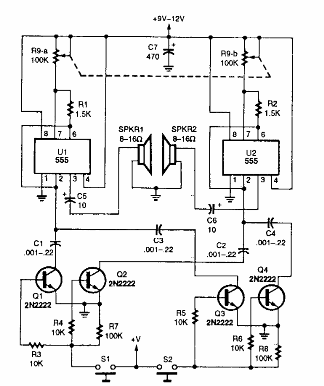
Found in Popular Electronics from the 90's, this circuit uses 555 integrated and common transistors to generate two tones determined by push buttons S1 and S2.
This circuit mimics the dialing of an old telephone. The reproduction is made in a loudspeaker and the power...
The gain of this circuit depends on the frequency of the input signal. The circuit is from a Radio...
This tone control was obtained in a Signetics documentation of the 90s. The integrated circuit can be...