This simple 12 V power supply with current up to 2 A was found in a Popular Electronics from the 90s. The zener diode is 14 V and transistor Q2 can be a TIP42.
This source was found in a 1982 American publication, but can be easily assembled using 2N2995 (PNP...
This receiver can operate with the transmitters shown in previous articles and even others...
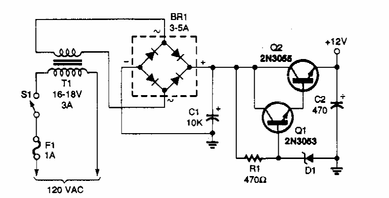
We got this circuit in an old 1983 publication, but it can be fitted with equivalent transistors. For Q1...