In this 1990s circuit, found in a National Semiconductor manual, the output voltage is the square of the input voltage. The components are from the period.
This circuit was taken from the 1967 General Electric SCR Manual. The circuit can use virtually any...
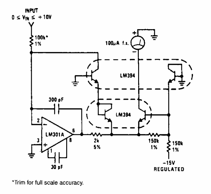
Found in National Semiconductor documentation from the 1980s, this circuit employs a power...
The different aspect of this source is the use of a 12 V lamp as a current regulator together with a...