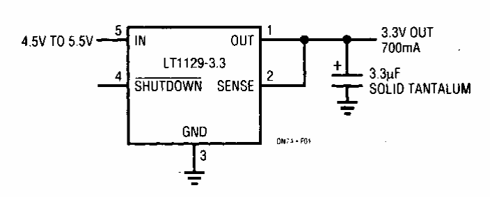
This circuit for 3.3 V logic circuits has a 5 V input and the maximum output current is on the order of 1 A. The circuit is from a Linear Technology manual.
This receiver was obtained in a documentation from the 90's and is of the super-regenerative type....
This circuit couples 600-ohm signals to a line of the same impedance consisting of an amplifier stage....
The circuit presented is from an old magazine having been translated and published in a national...