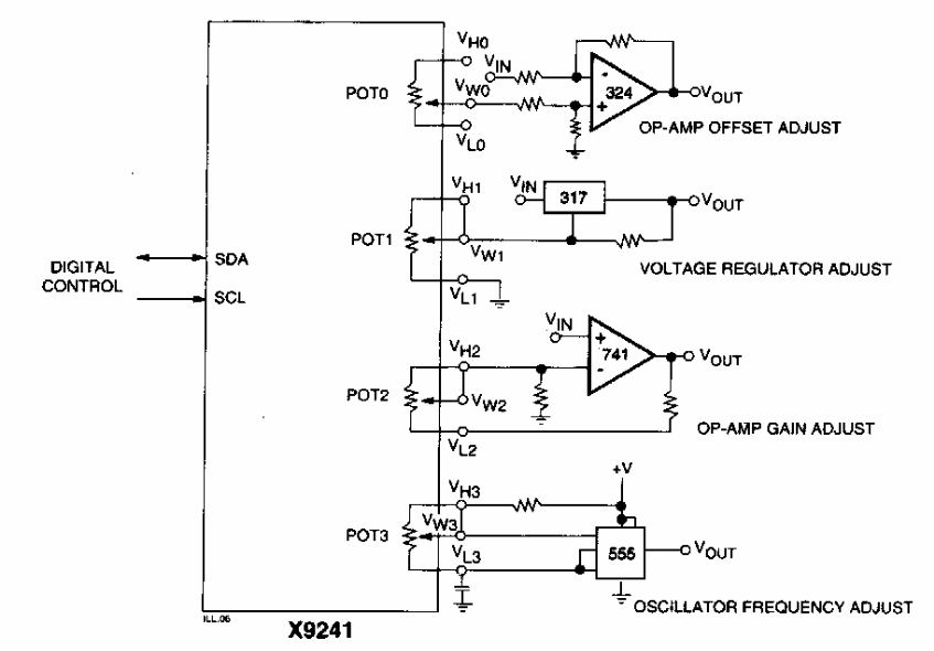
Found in an old Xicor documentation, this circuit makes use of an X9241, which contains four digitally controlled analog potentiometers.
In the figure we have the way to use an operational amplifier on a higher voltage source than it...
In the figure we have the circuit of a pulse transmitter modulated in frequency (PFM) in the range...
This circuit recognizes an input signal at the frequency of 10 KHz with amplitude from 200 mV. The...