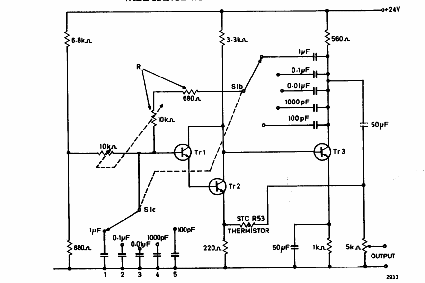
This Vienna bridge multi-band oscillator circuit was found in a 1974 Ferranti transistor manual. The circuit generates signals from 25 Hz to 1 MHz in 5 bands selected by the capacitors.
This circuit is from a specialized documentation in 1992 FETs. The L1 coil has 0.07 uH with...
We find this circuit in a documentation for engineers from 1971. The circuit generates rectangular and...
This is the simplest setting for lighting an LED. The circuit is from old English documentation that got...